参军报国 无上光荣
热血军营 等你加入

2022年12月1日
全国征兵网男兵报名通道正式开启
想参军的小伙伴速度集合!

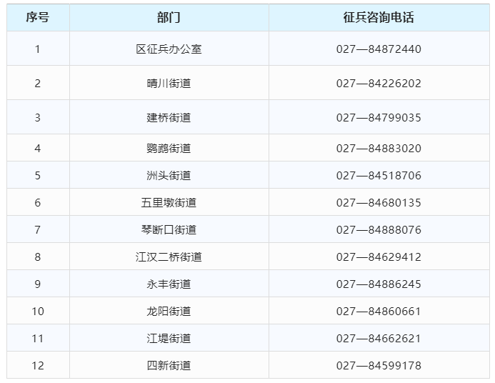
汉阳君从区征兵办公室获悉
符合条件的可向街道和相应划片高校咨询政策



男兵
上半年应征报名:2022年12月1日至2023年2月10日18时
下半年应征报名:2022年12月1日至2023年8月10日18时
女兵
上半年应征报名:2023年1月1日至2023年2月10日18时
下半年应征报名:2023年7月1日至2023年8月10日18时

男兵
★高中(含中专、职高、技校)毕业生及以上文化程度的青年(含高校在校生),年满18至22周岁;
★普通高等学校本专科毕业生、上半年符合毕业条件的毕业班学生,年满18至24周岁;
★研究生毕业生及在校生放宽至26周岁;
★初中毕业文化程度男青年,年满18至20周岁。
女兵
上半年应征报名:
★普通高等学校和科研机构全日制应届毕业生及在校生,年满18至22周岁;
★全日制研究生应届毕业生及在校生放宽至26周岁;
★2022年普通高等学校全日制本专科应届毕业生可以报名参加2023年上半年女兵征集,年龄放宽至23周岁。
下半年应征报名:
★普通高中应届毕业生、普通高等学校和科研机构全日制应届毕业生及在校生,年满18至22周岁;
★全日制研究生应届毕业生及在校生放宽至26周岁。

男兵报名前须完成兵役登记!
《中华人民共和国兵役法》第十五条规定,每年十二月三十一日以前年满十八周岁的男性公民,都应当按照兵役机关的安排在当年进行初次兵役登记。
兵役登记是每个适龄青年都要做的事情,无论是否报名参军,都应进行兵役登记。已经进行过兵役登记,有参军意向的可直接参加网上应征报名。
大学毕业生“绿色通道”!
征集对象以大学毕业生为重点,持续畅通大学毕业生应征入伍“绿色通道”,优先上站体检,优先审批定兵。
取得国家认可的高级工以上职业技能等级证书(职业资格证书)的高级技工学校和技师学院毕业生,参军入伍同样享受“绿色通道”哦!
此外,对应征入伍的普通高校毕业生、毕业班学生、在校生,由中央财政实施相应的学费补偿和国家助学贷款代偿。当年已被高校录取的高中毕业生入伍后保留入学资格,退役后享受国家学费减免政策。

方式一:

关注“湖北征兵”微信公众号
点击子菜单
“我要参军”→“男兵报名”
即可进入报名页面
↓↓↓

方式二:
登录全国征兵网
https://www.gfbzb.gov.cn/

识别二维码
进入全国征兵网报名
点击“应征报名(男兵)”
即可进入报名页面
↓↓↓

想要参军入伍的小伙伴们
快来一起来报名~
请输入验证码